снимка от открити източници
Държавен централен научноизследователски институт (TsNIImash, под Роскосмос) след 2 години планира да пусне поредица от нови бели дробове космически ракети за астронавти. Такива чанти осигуряват безопасна работа в космоса и помагат на астронавта върнете се до гарата при спешни случаи. Това съобщи един от разработчици на раници – академик на космонавтите на Руската академия астронавтика Михаил Burdaev.
снимка от открити източници
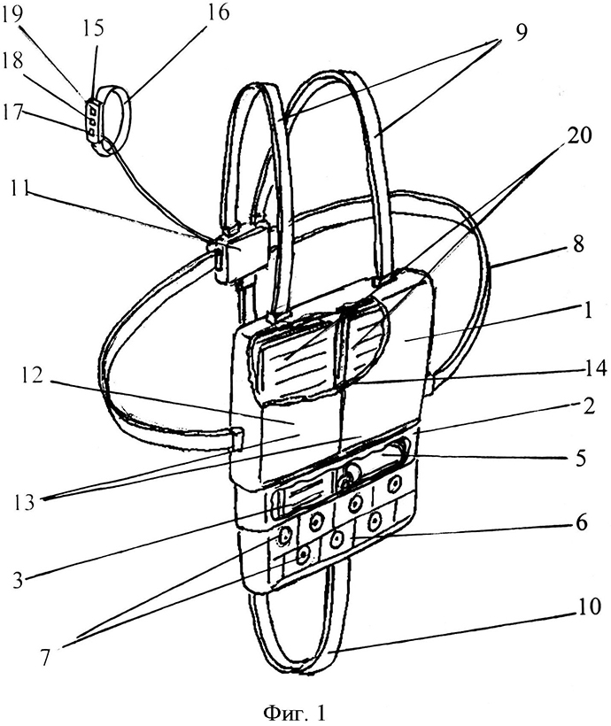
Чантата ще бъде прикрепена към скафандъра, ключова характеристика на чантата е слънчеви панели, които при необходимост обърни се. Батериите ще презаредят батерията, от която зависи от работата на електрически реактивен двигател.
снимка от открити източници
Изследователят на MIPT Иван Завялов обясни, че обичайното реактивен двигател изгаря гориво и скоростта на естествения изходът на газ през дюза на джета е много ограничен и електрореактивният двигател йонизира газовете и заредените йони ускорете с електрическо поле – в резултат скоростта на изход на газ е 10 и повече пъти по-висок от химическия двигател. Следователно такива двигателите консумират много по-малко гориво. В Русия има две производствени обекти, ангажирани със създаването на електро-креатив двигатели – OKB “Fakel” от Калининград и OJSC “KB Himavtomatiki” от Воронеж.
В допълнение, новостта на изобретението на Бурдаев и неговите колеги от TsNIImash е в допълнителни двигатели, които ще закопчайте пред скафандъра и служете като спирачка – астронавтът има нужда сигурна среща с кораба, когато той лети обратно, обикновено при висока скорост. Приема се, че теглото на космическата чанта няма да има повече от 10 кг.
– Идеи за космически раници за свободно движение пространство отдавна има, дори сред писателите на научна фантастика. Един от първите проби американците са имали ракетен пистолет, с който са разполагали от себе си. Това е малък реактивен двигател, наподобяващ дамски сешоар. Всъщност можете да летите и със сешоар, макар и не на открито пространство и вътре в гарата. Например космонавтът Юрий Артюхин вътре станция лети на домакинска прахосмукачка, – казва Бурдаев.
Човек за първи път отиде в космоса преди 50 години. 18 март Астронавтът от 1965 г. Алексей Леонов прави това на кораб „Изгрев 2“. В момента руски и американски астронавти за да се свържете със станцията, използвайте халард (кабели) с карабини, които са прикрепени към сградата на гарата. Редуват се редуващи се халигарди структурни елементи и са фиксирани, което не позволява на астронавтите лети в космоса.
– Проблеми с инсталирането на оборудване на външната повърхност на станцията, въпреки че те се разглеждат и проектират предварително, но все пак изискват човешко участие. Докато нямаме перфектни машини и роботи, които могат да заменят човешкия труд в космическото пространство, също има нужда от ремонт на оборудването. Например в През 1979 г. отиват космонавтите Владимир Ляхов и Валери Рюмин отворено пространство в непланиран режим и отпуснете антената KRT-10, който, когато се отдели от гарата, се обърка, закачи за съседното устройство и пречи на полета на кораба. В подобна ситуация роботът няма да помогне “, казва астронавтът Бурдаев.
– Много зависи от размера на безопасното отстраняване на астронавта от станция. В този случай имаме предвид такова разстояние от гарата, в която чантата осигурява връщане. В крайна сметка всички устройствата имат ограничение на възможностите. Слънчевата енергия може преместете астронавта – в зависимост от размера на слънчевата енергия батерии – на 50-100 м. И тогава ще свърши като бензин. Американците успяха да излязат на брега за няколко десетки метра. Те успяват да се премахнат от изразходвания ресурс спътници най-ценните части и ги монтира на нови изстрелвания сателити. Тоест спътникът напуска Земята не в набор, а само частично.
снимка от открити източници
В момента предприятието “Звезда” (развива се скафандри) е създаден аварийно-спасителен отряд (USK), който предоставя възможност за връщане в Международното пространство станция, но в момента не се използва. Теглото й 55 кг, той няма спирачно устройство и отсъства презареждане от слънцето.
– През 80-те години тези съоръжения имаха други задачи. съветски и американските експерти бяха заети с разработването на инструменти движението на астронавтите (SPK) в космоса. Съветският Нарича се изобретението от 400 килограма в ежедневието “мотоциклет”, той също наподобява стол с дръжки има чанта, която се прикрепя към скафандъра и се намира отзад газови бутилки и двигатели. Този инструмент позволи да лети далеч от станция или от совалката, заснемете или огледайте някое сателит и се върнете обратно. Или празен, или със сателит. Съветското устройство е използвано само веднъж, за проверка, през 1990 година. Сега предизвикателството е сигурността. ако човекът е слязъл, той трябва да бъде върнат, – разказва зам Главен проектант на ОАЕ АЕЦ “Звезда” Александър Лазуткин. – Следващото поколение устройства беше американският SAFER – опростен Помощ за EVA Rescue, буквално „леко спасително устройство астронавт в космоса “, издаден през 1994 г. Това по-малка инсталация, американците го поставят в почивния си ден скафандър преди да излезе. Устройството е малко рамка за подаване на газ В случай на отделяне на астронавта от нейната станция винаги можете да започнете и да се върнете назад.
Но тъй като никой не беше слязъл от гарата, СИГУРНО нито веднъж назначението не е използвано, казва Бурдаев, въпреки че е износен за космически разходки. Той подчерта, че новото развитие включва най-доброто от американския и руския опит.
– Вероятността за отделяне от гарата е висока обаче в случаите, когато астронавтът се откачи и полетя в космоса, в историята няма космонавтика. Имаше случаи, когато човек се е изгубил в безсъзнание торба с инструменти или други неща и те отлетяха, – казва Бурдаев. – Горивото в раницата, като правило, е малко. Но ако трябва да гарантирате връщането от по-голямо разстояние от 100 m, тогава ще трябва да увеличи количеството гориво в проекта. Ако човек е полетял в слънчевата сянка той ще замръзне. Температурата в космоса достига минус 70 градуса и по-долу, а на сянка – минус 150 градуса. На сянка можете да се изкачите, но не за дълго. Първите съветски станции редовно обърната по отношение на слънцето едната страна, после другата, така че как се огъват, защото когато слънцето загрява едната страна, още едно охлаждане – станцията, като гъсеница, се изви.
Главен специалист на ракетно-космическата корпорация “Енергия”, космонавтът Юрий Усачев подкрепя разработването на нови инструменти за движещи се в пространството.
– Такива устройства са необходими на астронавтите. Сигурност днес Руските астронавти осигуряват само халард и карабини, – каза Усачев.
Време Роботи Русия Слънце
